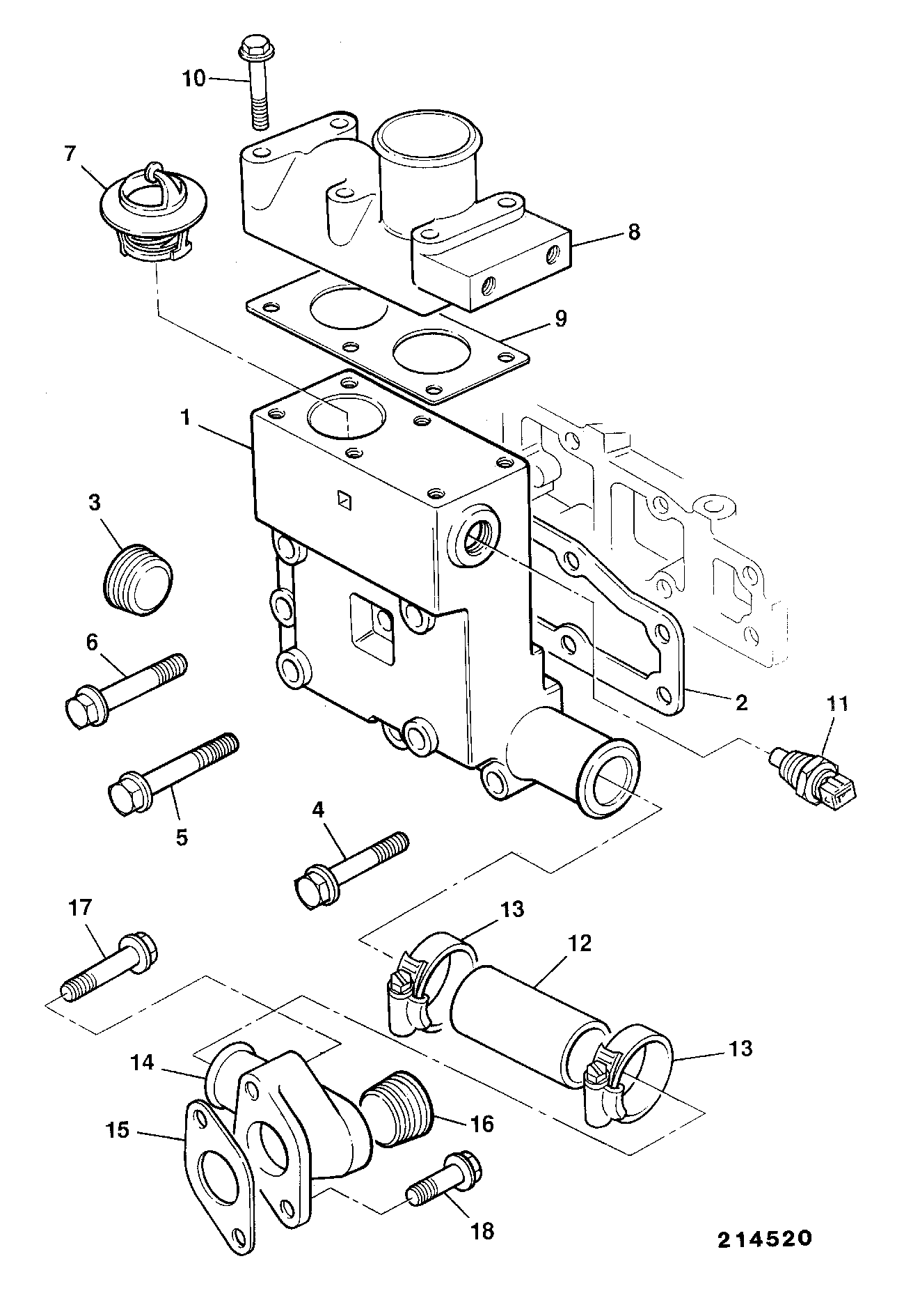
Датчик температуры охлаждающей жидкости JCB 716/12800
1 280
₽
Характеристики товара
Цена:
1280.00
Производитель:
Артикул:
716/12800
Код 1С:
УТ-00000624
Остаток на складе:
5
Единица измерения:
шт
| Модель | Модификация |
|---|
Экскаваторы-погрузчики
| JCB 214E | 214E |
| JCB 3CX | 3CX, 3CX-4T, 3CX-4WS-SM |
| JCB 4CX |
4CX-4WS, 4CX-4WS-SM, 4CXS-4WSSM |
Самосвалы шарнирно-сочлененные
| JCB 714 | 714 |
| JCB 722 | 722 |
Погрузчики фронтальные
| JCB 411 | 411 |
| JCB 416 | 416 |
| JCB 436 | 436 |
| JCB 436Z | 436Z |
Погрузчики телескопические
| JCB 520-50 | 520-50 4WS |
| JCB 526-55 | 526-55 |
| JCB 530-120 | 530-120 |
Мини-погрузчики колесные
| JCB 135 | 135 |
Мини-погрузчики гусеничные
| JCB 150T | JCB 150T |


